您现在所在的位置 : 首页 > 政务公开 > 政策法规
分享到:
索引号: /2025-00629 分类:  
发文机关: 冷水滩区医疗保障局 发文日期: 2025-07-24
名称: 关于印发湖南省医疗保障经办政务服务事项清单(2025年版)和湖南省医疗保障经办政务服务事项办事指南(2025年版)的通知
文号 :    
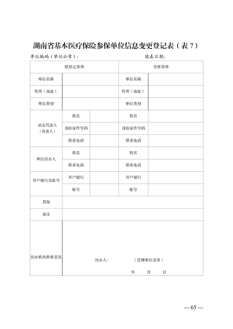
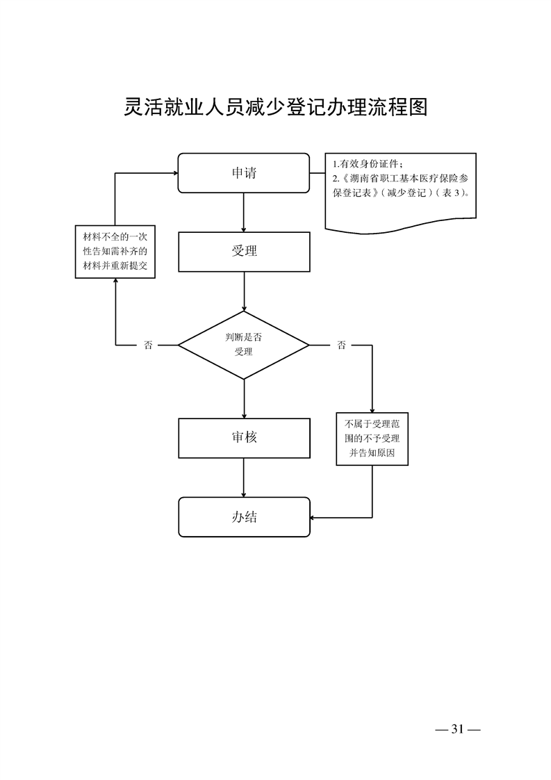
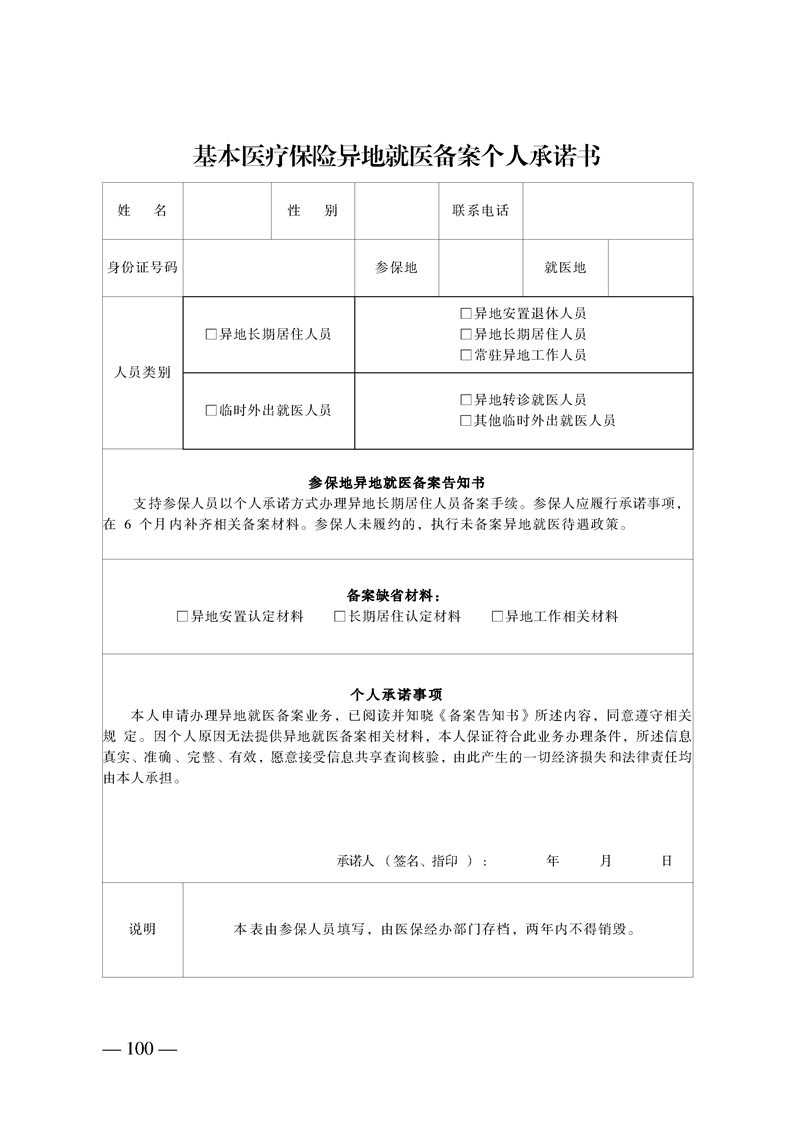
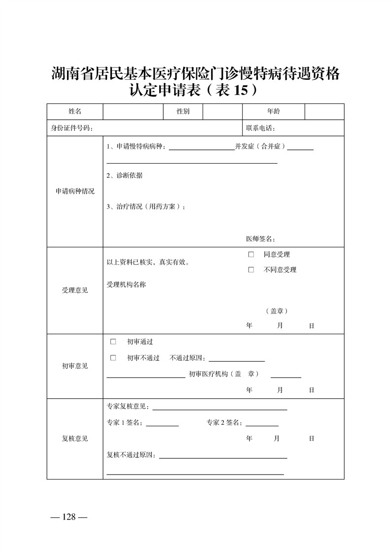
关于印发湖南省医疗保障经办政务服务事项清单(2025年版)和湖南省医疗保障经办政务服务事项办事指南(2025年版)的通知
2025-07-24           来源: 湖南省医疗保障局 【字体:   打印


























































































































































































扫一扫在手机打开当前页