适老版
网站首页
魅力潇湘
政务公开
办事服务
政民互动
搜索
中国政府网
|
湖南省人民政府
|
永州市人民政府
无障碍浏览
| 适老版
繁
网站首页
政务公开
办事服务
政民互动
魅力潇湘
X
您现在所在的位置 :
首页
>
政务公开
>
通知公告
分享到:
通知公告
索引号:
/2023-00410
分类:
发文机关:
冷水滩区医疗保障局
发文日期:
2023-10-09
名称:
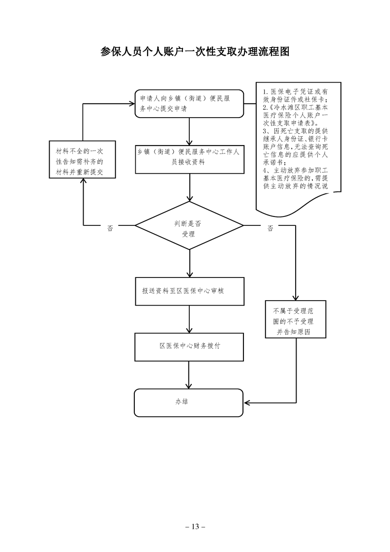
冷水滩区医保经办服务事项下沉清单办事指南
文号 :
冷水滩区医保经办服务事项下沉清单办事指南
2023-10-09
来源:
冷水滩区医保事务中心
【字体:
大
中
小
】
打印
扫一扫在手机打开当前页
【TOP】
【
打印页面
】【
关闭页面
】