| 索引号: | 4311240007/2023-00490 | 分类: | |
| 发文机关: | 道县公安局 | 发文日期: | |
| 名称: | |||
| 文号 : | |||
7月以来,随着中小学陆续放假,广大家长朋友带小孩出行需求大幅度增长。为了出行便利,广大家长朋友纷纷携带孩子前往公安机关办理居民身份证,炎炎夏日迎来了一波暑期办证高峰。为应对办证高峰,道县公安局全员上岗,采取提前上岗、延时下班,合理布局、加强导引等方式全力以赴为广大申请人提供优质高效便捷的服务。同时,为了避免因为不了解居民身份证办理相关程序而漏带资料,造成不必要的无效等待、往返奔波,耽误出行时间,特就居民身份证办理需要特别注意的事项温馨提示如下:
一、未满16周岁未成年人申领居民身份证。应由父亲或者母亲等监护人陪同到居民身份证受理点现场申领。请携带监护人的身份证明和户口簿。如户口簿不能体现监护关系,还应提交《出生医学证明》等能够证明父母子女关系的材料。
二、网上办理。在湖南公安服务平台实名认证的省内居民,因居民身份证损坏、丢失需要换、补领的,首次居民身份证的领取在5年以内,可直接登陆该平台在网上办理,无需前往办证大厅办理。
三、办理期限。加快证件7-10个工作日,由邮政公司直接从长沙制证中心邮寄到指定地点,邮政公司收取快递费20元;普通证件30个自然日,申领时选择到办证大厅现场领取或由邮政公司邮寄至指定地点。
四、办理流程。咨询台取号→人工照相室照相→按语音提示到相应受理岗办理。五、现场取证。未满十六周岁的,由监护人带居民身份证和取证凭条到10号窗口取证;他人代取的,由代领人任居民身份证和取证凭条到10号窗口领取;公民领取新证时,应当交回原证。
六、相片要求。申领人应着深色衣服,不着制式服装和浅色服装,头发应向后梳理,不遮挡两耳和双眉,不戴帽,不留长须,不染与本色反差太大的发型、不化浓妆、不带美瞳、不佩戴眼镜拍照,常带眼镜的应换上无镜片镜框,用纸巾擦去面部的汗水和油脂。面部、颈部非永久性文身刺青图案要自行去除,禁止穿吊带衫、汗背心、单肩服饰露肩、遮挡下颚的高领服饰。申领人应保持本人自然相貌,不能有任何遮挡或改变面部特征的行为。
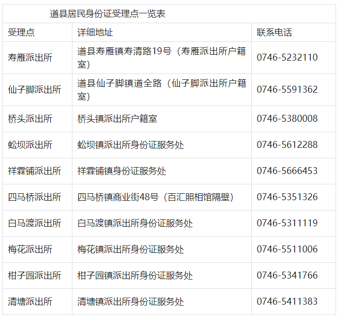
七、申领点选择。为避免长时间等待、扎堆办证,请道县范围内户籍居民就近到派出所申领,其他地方户籍居民可到道县人口与出入境办证大厅申领。

八、出行的儿童办理过居民身份证的,未携带或丢失居民身份证,可以在车站公安制证口或在线办理临时乘车身份证明。未办理过居民身份证的儿童,需要携带户口簿原件、出生证明、护照等其他有效身份证件。儿童有效身份证件包括:(1)中华人民共和国居民身份证(含中华人民共和 国临时居民身份证)(2)居民户口簿(3)中华人民共和国护照(4)中华人民共和国出入境通行证(5)中华人民共和国旅行证(6)新生儿出生医学证明(7)公安机关出具的临时乘车身份证明(8)中华人民共和国港澳居民居住证(9)中华人民共和国台湾居民居住证(10)港澳居民来往内地通行证(11)往来港澳通行证(12)大陆居民往来台湾通行证(13)台湾居民往来大陆通行证(14)外国人永久居留身份证(15)外国人护照(16)外国人出入境证其他未尽事宜及不明之处请参阅有关办理指南或致电各受理点垂询。期待用我们的热忱服务让广大市民朋友们感受到炎炎夏日的一抹清凉。
道县公安局人口与出入境管理大队
2023年7月31日