您现在所在的位置 : 首页 > 政务公开 > 通知公告 > 公示公告
分享到:
索引号: 431102009/2025-19189 发文日期: 2025-06-20 发布机构: 零陵区
公开方式: 主动公开 公开范围: 面向社会 主题词:
统一登记号: 信息时效性: 待评估 文号 :
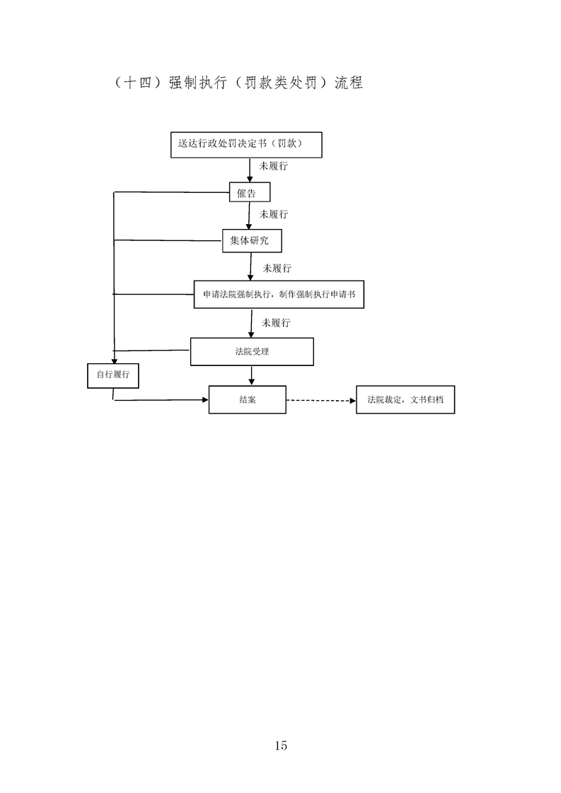
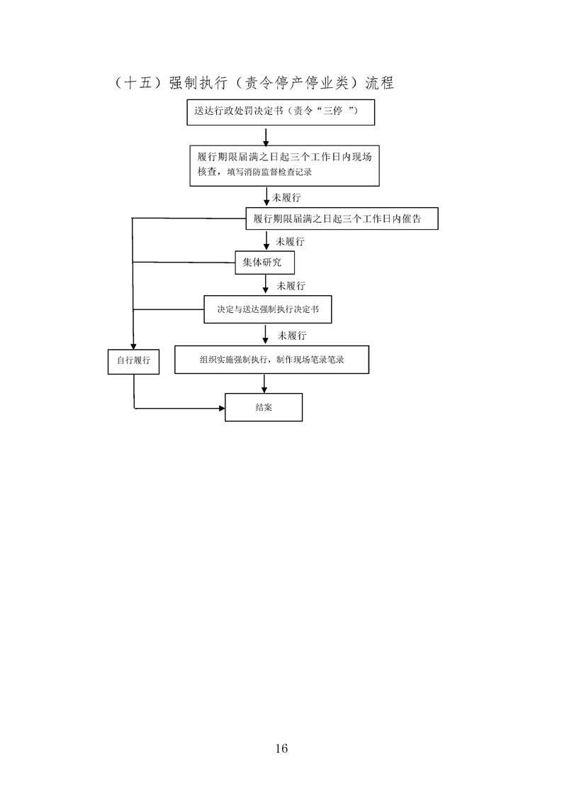
永州市零陵区消防救援大队消防执法相关信息公示公开
2025-06-20 10:56 来源: 永州市零陵区消防救援大队 发布机构: 零陵区 【字体:   打印




















扫一扫在手机打开当前页

主办单位:永州市零陵区人民政府办公室  承办单位:零陵区数据局
网站标识码:4311020009   版权所有:永州市零陵区人民政府门户网站
备案号:湘ICP备11003146号-1  湘公安网备43110202000118
E-mail:linglingzwzx@163.com  网站地图  联系我们
联系电话:0746-6332117(受理网站建设维护,报错和不良信息举报等相关事宜)

  • 监督一点通
  • 三湘e监督
  • 湘易办(安卓)
  • 湖南省政府网
  • 适老版